《星岛》见习记者 洪雨欣 深圳报道
3月6日,证监会网站显示,河南五星新材科技股份有限公司(以下简称五星新材)首次公开发行股票并上市辅导工作完成,辅导机构为东吴证券。本次辅导自2024年10月启动至2025年12月结束,累计开展5期系统辅导。这家特种石墨全产业链龙头企业,经过系列规范后,向A股市场发起冲击。
公开资料显示,五星新材成立于2007年8月,注册地位于河南平顶山市,注册资本3.9亿元,是国家级专精特新“小巨人”。公司专注于高纯石墨及其制品的研发、生产与销售,其产品含碳量超过99.999%,性能指标行业领先,广泛应用于光伏、半导体、航空航天、军工、核工业等领域。截至2023年,员工总数426人。
辅导报告指出,历史沿革中存在的股权代持问题成为重点规范事项。
2007年8月,五星新材设立时,赵俊一、赵俊杰和赵俊通均分别出资30万元,此外,刘林豹出资120万元,李英出资90万元。其中,刘林豹系代赵俊一兄弟赵南凯之配偶王金会持股;李英系代赵俊一持股。
东吴证券表示,上述股权代持于2009年3月、2012年8月通过股权转让方式陆续还原;2012年8月之后,公司历史沿革中不存在股权代持情形。项目组已取得相关历史股东出具的公证书和访谈记录,确认上述股权变动行为均为股东的真实意思表示,工商变更登记完成后,公司股份权属清晰,不存在利益输送或其他利益安排,不存在纠纷或潜在纠纷的情况。
股东结构显示,公司股权兼具产业与国有资本背景。
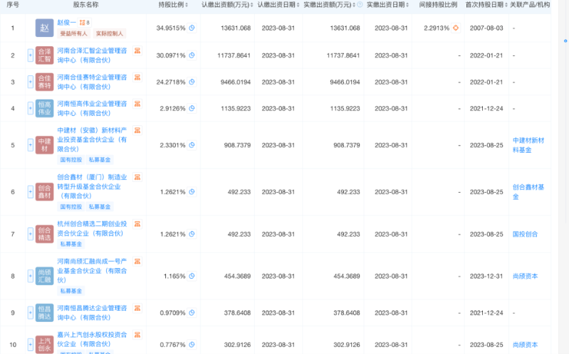
《星岛》查询的天眼查资料显示,董事长赵俊一是五星新材实际控制人,直接持股34.95%,间接持股2.29%,合计约37.24%,其另一身份是河南省政协委员。
引人关注的是,公司前十大股东中,出现了多家国有背景的产业基金。
其中包括中建材(安徽)新材料产业投资基金合伙企业(有限合伙)、创合鑫材(厦门)制造业转型升级基金合伙企业(有限合伙),以及嘉兴上汽创永股权投资合伙企业(有限合伙)等,皆为国有控股,三家股东持股比例分别为2.33%、1.26%和0.78%。
这些国有资本的入驻,不仅为公司带来资金支持,也侧面印证其所在赛道与国家支持的战略方向契合。
目前,五星新材已完成天使轮融资。
▲前十大股东明细,来源:天眼查
辅导报告还指出,在辅导前,五星新材在公司治理、内控管理及董监高对资本市场法规的熟悉程度上均有提升空间。经辅导,公司已建立权责清晰、制衡有效的治理与内控体系,董监高全面掌握上市相关法规,能够切实履行规范运作、信息披露等责任义务。
此外,根据辅导报告,东吴证券表示已协同公司进行多次专项讨论,结合其主营业务发展情况、行业及市场发展趋势,对募集资金投资项目的可行性进行了详细分析论证。相关项目的投资备案、环评等前期工作正在推进中。
随着辅导期结束,五星新材的上市进程将进入申报阶段。在“专精特新”政策支持与新材料产业蓬勃发展的背景下,其能否凭借技术优势与规范的公司治理顺利登陆资本市场,值得市场持续关注。
编辑︱梁景琴













