《星岛》见习记者 洪雨欣 深圳报道
近日,五矿证券有限公司(以下简称“五矿证券”)发布的《关于江西联晟电子股份有限公司(以下简称“江西联晟”)首次公开发行股票并上市辅导工作进展情况报告(第十一期)》(以下简称《报告》)显示,江西联晟存在未完善收入成本核算准确性、未履行备案手续、未完善内部控制有效性、利润水平大幅下降等问题。
《报告》显示,五矿证券辅导工作小组将协同立信会计师事务所(特殊普通合伙)和康达律师事务所对公司有针对性地开展尽职调查,梳理公司存在的问题,与公司进行沟通并列出整改的工作清单;安排接受辅导的人员系统了解证券市场基础知识,并学习《公司法》《证券法》等法律法规。
五矿证券成立于2000年,注册资本为97.98亿元,总部位于深圳,系五矿资本控股有限公司(持股99.76%)旗下综合类证券公司。2024年12月,公司就保荐项目广道数字虚假陈述案公告设立先行赔付专项基金。2026年1月,其保荐并承销的广道数字被终止上市,成为当年首只退市股票。
江西联晟是由原国营第四三二一厂改制而来的股份制企业,成立于2009年,是江西省国有资本运营控股集团成员。公司长期从事军用铝电解电容器和高可靠民用铝电解电容器的科研、生产。公司拥有完备的军工生产资质和质量体系,生产的军用铝电解电容器广泛配套于航空、航天、船舶、兵器、电子、中物院和中科院等各大军工集团,几乎覆盖我国各大重点武器装备型号。
这家拟登陆资本市场的军工配套企业,不仅2024年业绩遭遇“腰斩”,更暴露出历史沿革瑕疵、内控体系薄弱及战略规划模糊等多重风险。
业绩警报,军工反腐致营收利润双下滑
《报告》指出,公司2024 年合并报表营业收入15,111.28 万元,较去年同期下降了 19.22%;营业利润1,796.6 万元,较去年同期下降了 54.05%;净利润 1,630.68 万元,较去年同期下降了49.81%,经营业绩下降的主要原因是军品收入同比2023 年出现31%左右下滑,主要受2024 年各大军工体系反腐等因素影响。
《星岛》查阅了公司近年来的年度报告,企业均不选择公示资产总额、利润总额等财务数据。
近年来,中国军工领域掀起高强度反腐风暴,已有多家涉军企业公开披露因“军工系统整顿”“采购体系调整”或直接被“军队采购网拉黑”等原因,导致营收与利润显著下滑。
▲军队采购网公示的采购预警名单
2023年,以军事仿真为主营业务方向的民营企业华如科技被暂停参加军队采购活动,暂停事由为“组织采购活动中发现涉嫌违规违法问题,经评估触及禁止性处罚”。其2023年前三季度营业收入同比减少18.85%至3.21亿元,归母净利润亏损2800万元。
自被列入“黑名单”以来,华如科技每年都被军采网“点名”。2024年的营业收入同比减少31.12%,归属于上市公司股东的净利润同比减少59.86%,基本每股收益同比减少60.71%。
作为一家主营电子元器件、电子电器及其原辅材料的公司,江西联晟深度嵌入军工产业链,客户集中度高。军工体系整顿采购流程,对其订单形成直接冲击。业内人士指出,若江西联晟未能实现成本端的高效管控,成功打开业绩修复空间,公司业绩恢复将面临较大不确定性。
股权变动存合规瑕疵
除业绩压力外,江西联晟的历史沿革问题亦成为IPO路上的“硬伤”。
《报告》明确指出,辅导对象2010 年股权转让时存在未将评估结果履行备案手续以及未在产权交易机构中进行交易的情况;2016 年股改时存在未取得省国资委批复、未履行资产评估备案手续的情况。
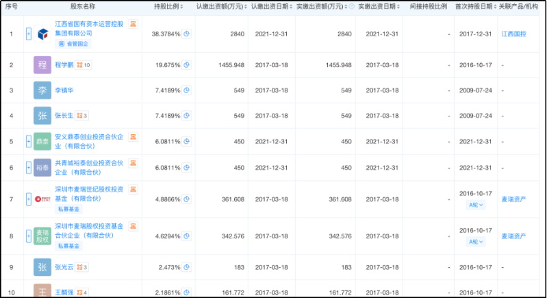
天眼查信息显示,江西省国有资本运营控股集团有限公司(江西国控)为公司第一大股东,持股比例达34.38%。第二大股东程学鹏是江西联晟董事兼总经理、新疆信达技术有限公司法定代表人兼执行董事。江西省国有资产监督管理委员会为公司实际控制人。
江西国控前身为江西省外贸资产经营控股有限公司,是经江西省人民政府批准设立、省国资委履行出资人职责并授权经营的国有资本投资运营平台,主要经济指标已迈入国内省级国有资本运营平台“第一方阵”。
五矿证券在《报告》中坦言,辅导工作小组将督促辅导对象取得江西国控及国资委的确认文件。
在下阶段辅导工作安排中,五矿证券表示,将继续对辅导对象收入成本核算的准确性、内部控制有效性、独立性、合法合规性等各方面进行持续调查及辅导;持续完善财务、业务、法律层面的尽职调查,强化公司治理、内部控制和规范运作;持续关注辅导对象所在行业最新发展情况、证券监管机构最新的规则指引,实时跟进公司的经营业绩及辅导计划的完成情况,并综合各种因素动态调整辅导计划及实施方案。
更多优质财经新闻请扫码关注“星岛财经”微信公众号获取
编辑︱胡影雅

















