《星岛》记者 钟凯 深圳报道
宗馥莉主导的“去娃哈哈化”进程再添关键动作。
企查查显示,1月10日,杭州娃哈哈宏振投资有限公司正式更名,名称简化为“杭州宏振投资有限公司”(下称“宏振投资”),彻底剥离“娃哈哈”字号烙印。
作为宗庆后生前为女儿搭建的核心传承平台,宏振投资这一投资中枢的更名,被市场解读为宗馥莉加速切割个人商业版图与娃哈哈母体、构建独立运营体系的明确信号。
公开资料显示,宏振投资最早于2007年成立,注册资本1.8亿元。2024年3月,即宗庆后逝世后一个月,宏振投资的大股东、法定代表人由宗庆后变更为宗馥莉,她同时出任公司执行董事、经理。
作为宗馥莉商业版图的“资本中枢”,宏振投资的影响力覆盖多个关键领域。数据显示,该公司直接对外投资20家企业,通过股权穿透直接或间接控制的企业达48家,业务范围不仅包含食品饮料等娃哈哈传统主业,还延伸至半导体、生物医药等新兴赛道。
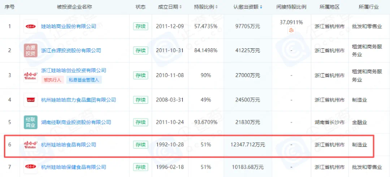
▲宏振投资控制着娃哈哈的主要平台
在宏振投资的控股体系中,杭州娃哈哈食品有限公司(下称“娃哈哈食品公司”)的地位最为关键。
娃哈哈食品公司成立于1992年,是娃哈哈体系内最早期、也是最重要的公司之一,由宏振投资持股51%、杭州娃哈哈集团有限公司(下称“娃哈哈集团”)持股39%,以及浙江娃哈哈实业股份有限公司持股10%。
娃哈哈食品公司还曾因宗馥莉逐步接管娃哈哈核心资产而被推至舆论中心。2025年2月,娃哈哈集团计划将387件“娃哈哈”系列商标转让至娃哈哈食品公司名下,若完成转让,宗馥莉将通过宏振投资间接掌控娃哈哈的核心品牌权属。但该笔交易最终被国资方发现并制止,成为后续“去娃哈哈化”的重要导火索。
值得注意的是,2025年12月,娃哈哈食品公司曾发生工商变更,宗馥莉卸任法定代表人、董事、经理,由许思敏接任。当时外界普遍解读为“宗馥莉全面退出娃哈哈核心管理层”,但结合此次宏振投资的更名动作来看,这一判断显然存在偏差。
事实上,同期宗馥莉还完成另一关键布局。2025年12月底,宏胜饮料集团有限公司(下称“宏胜集团”)完成工商变更,宗馥莉重新出任公司法定代表人,宏胜集团正是她独立打造的核心实业平台。
此后,宏振投资体系内的其他关联公司也出现调整。今年1月13日,该公司持股90%的杭州娃哈哈文化传媒有限公司近期完成工商变更,宗庆后不再担任法定代表人、执行董事,由盛文龙接任并兼任经理,宗馥莉则新增董事职务。
此次宏振投资更名并非孤立事件。《星岛》了解,自2025年9月起,已有十余家娃哈哈关联公司陆续剥离“娃哈哈”字号,替换为“宏胜”相关品牌,形成规模化的“去娃哈哈化”浪潮。
编辑︱梁景琴













